Cấu Trúc và Nguyên Lý Hoạt Động của Van Một Chiều

Cấu Tạo Chung của Van Một Chiều
Các loại van một chiều có cấu tạo chung với những bộ phận chính sau:
-
Thân Van (Body):
-
Thân van được sản xuất từ các chất liệu như đồng, inox, thép, nhựa... Chúng có độ bền cao, chịu được va đập tốt, áp lực cao và nhiệt độ cao, chống ăn mòn và oxy hóa.
-
Bên ngoài thân van thường được sơn phủ Epoxy để chống bám bụi, tăng tính thẩm mỹ và khả năng chịu môi trường.
-
-
Đĩa Van (Disc):
-
Được làm từ chất liệu chủ yếu là inox hoặc thép bọc cao su để chống ăn mòn và han gỉ.
-
Hình dạng của đĩa van khác nhau tùy thuộc vào loại van một chiều: có thể là dạng lá, bán nguyệt (cho van một chiều cánh bướm), quả bóng (cho van một chiều bi).
-
-
Chốt Định Vị (Stem):
-
Có vai trò kết nối phần thân van với phần đĩa van để đảm bảo an toàn và chắc chắn trong quá trình vận hành.
-
-
Vòng Đệm (Seat Ring):
-
Làm từ cao su EPDM có độ bền cao, vòng đệm có vai trò làm kín, giảm tiếng ồn và ma sát trong quá trình vận hành van.
-
-
Phần Kết Nối (Connection):
-
Có hai kiểu chính: nối ren và nối bích theo tiêu chuẩn, hoặc rắc co tùy vào từng loại van và hệ thống đường ống.
-

Cấu Tạo Chi Tiết Các Loại Van Một Chiều Phổ Biến
-
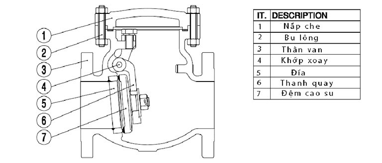
Van Một Chiều Lá Lật:
-
Được biết đến là van một chiều dạng lá lật, loại van này thường được sử dụng trong các hệ thống nước sạch, nước thải, khí nén, hơi nóng...
-
Cấu Tạo:
-
Nắp Đậy: Làm từ inox, gang, kết nối với thân van để tạo thành một khối thống nhất, làm kín lưu chất.
-
Chốt Địa, Chốt Đĩa, Chốt Bản Lề: Thường làm từ thép không gỉ.
-
Thân Van: Bộ phận chịu áp lực chính, đúc nguyên khối từ đồng, inox, gang, nhựa...
-
Đĩa Van: Thiết kế nghiêng 45 độ, có thể lật lên lật xuống tự do, làm bằng inox, thép bọc cao su hoặc gang.
-
Phần Kết Nối Với Đường Ống: Dạng 2 mặt bích hoặc nối ren.
-
-

-
-
Van Một Chiều Cánh Bướm:
-
Còn gọi là van một chiều dạng tấm hoặc đĩa gấp.
-
Cấu Tạo:
-
Thân Van: Làm từ inox, gang, nhựa, được phủ sơn epoxy để chống ăn mòn.
-
Lá Van: Gồm 2 nửa hình bán nguyệt, sản xuất từ inox CF8/CF8M, được gắn với chốt bản lề và lò xo móc.
-
Lò Xo Móc: Được lồng vào trục giữ lá van, tạo lực ép để van luôn ở trạng thái đóng khi không có áp lực dòng chảy.
-
Giá Đỡ: Kết nối và cố định giữ chốt bản lề với thân van.
-
-

-
-
Van Một Chiều Bi (Ball Check):
-
Thiết kế theo kiểu chữ Y, đĩa van là một quả bóng hình tròn.
-
Cấu Tạo:
-
Nắp Van: Cùng chất liệu với thân van, kết nối với thân bằng bu lông và đai ốc.
-
Thân Van: Đúc nguyên khối từ inox 304, 316, đồng, gang...
-
Bi Van: Hình tròn, nhẹ, làm từ inox chống ăn mòn.
-
-

-
-
Van Một Chiều Cối:
-
Thiết kế giống như chiếc cối, có lò xo bên trong giúp đóng mở van tự động.
-
Cấu Tạo:
-
Thân Van: Chế tạo từ inox, chịu được nhiệt độ và áp lực cao, chống va đập và ăn mòn.
-
Đĩa Van: Làm từ SUS201, SUS304.
-
Lò Xo: Có chức năng truyền động và hỗ trợ van đóng mở dựa trên lực đàn hồi.
-
-

-
-
Van Một Chiều Đối Trọng:
-
Còn gọi là van một chiều quả cân thủy lực, có đòn bẩy đối trọng giúp vận hành dễ dàng hơn.
-
Cấu Tạo:
-
Thân Van: Đúc nguyên khối và kết nối với đường ống bằng mặt bích, sản xuất từ inox, gang, thép...
-
Đĩa Van: Kết nối với trục van, làm từ inox, thép, chống ăn mòn.
-
Ty Van (Trục Van): Kết nối với đĩa van và truyền động lực từ đòn bẩy.
-
Đòn Bẩy: Là thanh dài, chất liệu gang, kết nối với quả cân để hoàn thành hệ truyền động.
-
-

-
-
Van Một Chiều Lá (Wafer Check Valve):
-
Còn được gọi là van một chiều dạng đĩa, treo.
-
Cấu Tạo:
-
Thân Van: Làm từ inox hoặc nhựa, có khung để lắp đặt các bộ phận khác.
-
Đĩa Van: Gắn với bản lề, thiết kế dạng đĩa lật.
-
Móc Treo: Bằng inox, giữ van cân bằng và chắc chắn.
-
Gioăng Làm Kín: Bên trong đĩa van, giúp van đóng mở dễ dàng và tránh rò rỉ.
-
-

-
Các loại van một chiều có cấu tạo khác nhau nhằm phù hợp với các ứng dụng và yêu cầu kỹ thuật khác nhau trong hệ thống đường ống. Việc lựa chọn loại van phù hợp sẽ giúp tối ưu hóa hiệu suất và độ bền của hệ thống.
Bạn có thể xem bài viết của Song Toan (STG)., JSC tại:
Chúc bạn có những trải nghiệm tuyệt vời với sản phẩm của Song Toàn (STG).





